Sumitomo has been granted a patent for a heat sink design featuring multiple extrusions with fins and through-holes for heat pipes. The extrusions can be arranged in different configurations to optimize heat dissipation, with varying distances between through-holes. The design allows for efficient cooling in electronic devices. GlobalData’s report on Sumitomo gives a 360-degree view of the company including its patenting strategy. Buy the report here.
Discover B2B Marketing That Performs
Combine business intelligence and editorial excellence to reach engaged professionals across 36 leading media platforms.
According to GlobalData’s company profile on Sumitomo, Bioethanol production GMOs was a key innovation area identified from patents. Sumitomo's grant share as of March 2024 was 44%. Grant share is based on the ratio of number of grants to total number of patents.
Heat sink with extrusions and heat pipes for cooling

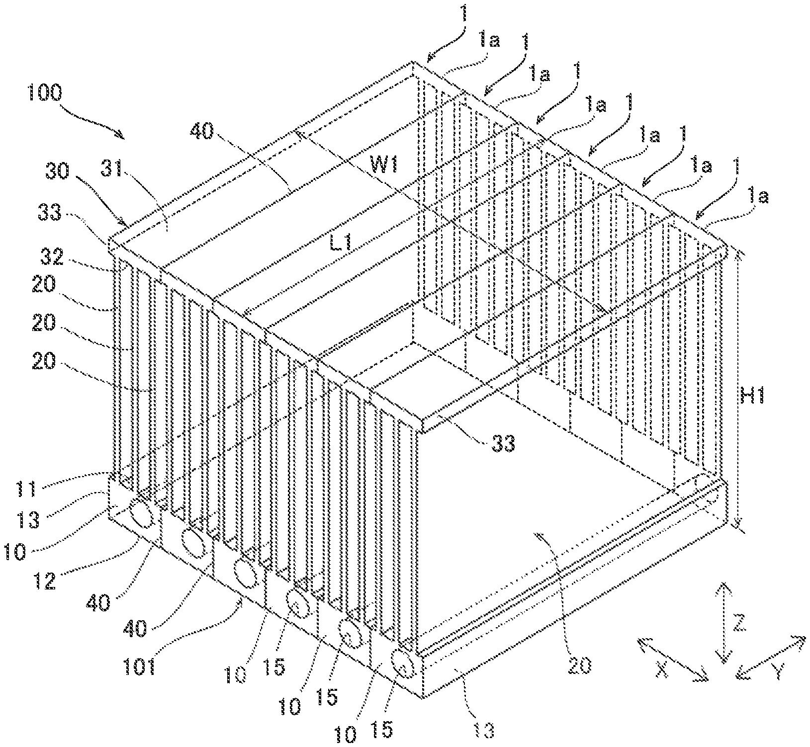
The granted patent (Publication Number: US11940222B2) discloses a heat sink design comprising a plurality of heat pipes and extrusions aligned in a width direction orthogonal to an extrusion direction. The extrusions include first extrusions with a base, a fin, and a through-hole for mounting heat pipes. The arrangement can be in two configurations - one with second extrusions adjusting distances between through-holes, and the other with different types of first extrusions varying in width dimensions. The extrusions are joined using brazing material, providing flexibility in design and heat dissipation efficiency.
Furthermore, the patent claims specify that the dimension of the through-hole in the width direction is equal to or larger than the pitch of the fins, ensuring effective heat transfer. Each first extrusion can have one or two through-holes and six or fewer fins, with variations in the number of fins and through-holes based on the design requirements. The integration of fins with the base in both first and second extrusions enhances structural integrity and thermal performance. Overall, the patented heat sink design offers a versatile and efficient solution for managing heat in various applications, with customizable configurations to optimize thermal management in electronic devices and systems.
To know more about GlobalData’s detailed insights on Sumitomo, buy the report here.
Data Insights
From
The gold standard of business intelligence.
Blending expert knowledge with cutting-edge technology, GlobalData’s unrivalled proprietary data will enable you to decode what’s happening in your market. You can make better informed decisions and gain a future-proof advantage over your competitors.

