Salzgitter has patented a shrink-wrapping tunnel heater with a gas heater and porous burner to shrink film onto packages. The design ensures efficient heating without an open flame, enhancing safety and effectiveness in packaging operations. GlobalData’s report on Salzgitter gives a 360-degree view of the company including its patenting strategy. Buy the report here.
Discover B2B Marketing That Performs
Combine business intelligence and editorial excellence to reach engaged professionals across 36 leading media platforms.
According to GlobalData’s company profile on Salzgitter, Battery metal recycling was a key innovation area identified from patents. Salzgitter's grant share as of March 2024 was 55%. Grant share is based on the ratio of number of grants to total number of patents.
Shrink-wrapping tunnel heater for packaging units

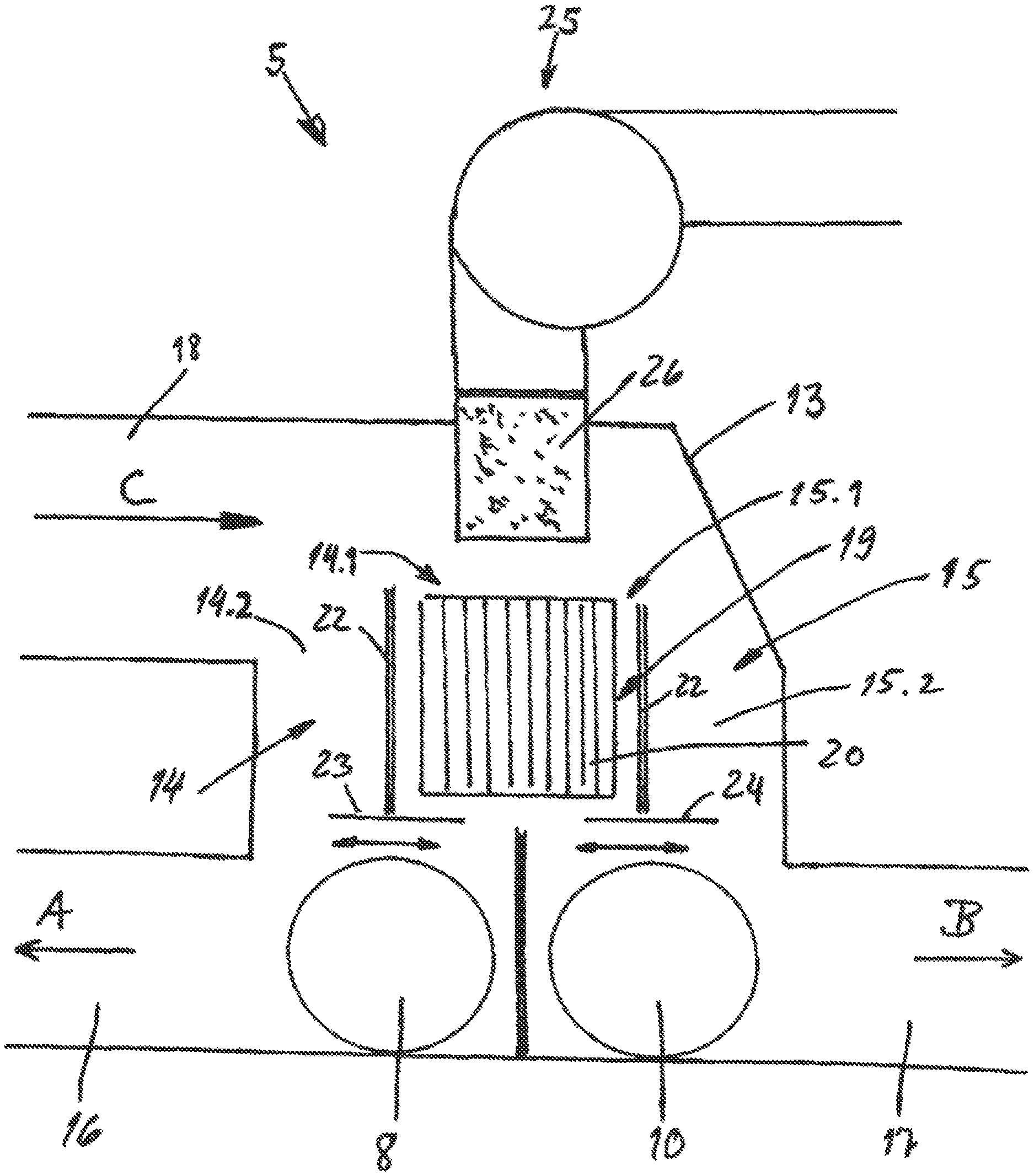
A recently granted patent (Publication Number: US11958646B2) discloses a shrink-wrapping arrangement designed to efficiently shrink film onto packages or packaging units. The arrangement includes a tunnel for receiving the wrapped items, a housing with a combustion heater mounted at the top, and various ducts for gas flow control. The combustion heater, equipped with a porous burner, generates combustion gases without an open flame, directing them downward into the housing to mix with recycled shrink gas. Gas flow guide structures within the housing regulate the mixing ratio to achieve the desired temperature for shrinking the film onto the package. Additionally, gas channels inside the tunnel distribute the heated shrink gas towards the package from the side and below, ensuring uniform shrinkage.
Furthermore, the patent claims detail the specific configurations and components of the shrink-wrapping arrangement. The guide structures are positioned near the porous burner to interact with the incoming gases effectively. The arrangement may include conveyors for moving packages through the tunnel, with the porous burner capable of utilizing various fuels such as gaseous or liquid options. The use of a ceramic material for the porous burner is also mentioned in the claims, highlighting the versatility of the design. Additionally, the placement of the inflow opening and gas flow guide structures in the housing is specified, emphasizing the precise engineering involved in controlling the gas flow for optimal shrink-wrapping results.
To know more about GlobalData’s detailed insights on Salzgitter, buy the report here.
Data Insights
From
The gold standard of business intelligence.
Blending expert knowledge with cutting-edge technology, GlobalData’s unrivalled proprietary data will enable you to decode what’s happening in your market. You can make better informed decisions and gain a future-proof advantage over your competitors.

