Imdex has been granted a patent for a drill hole logging system that includes a surface computing system, a deployment mechanism, and a logging tool to measure geophysical parameters in a drill hole. The system also features a borehole caliper for profiling the inside of the borehole. GlobalData’s report on Imdex gives a 360-degree view of the company including its patenting strategy. Buy the report here.
Discover B2B Marketing That Performs
Combine business intelligence and editorial excellence to reach engaged professionals across 36 leading media platforms.
According to GlobalData’s company profile on Imdex, was a key innovation area identified from patents. Imdex's grant share as of May 2024 was 41%. Grant share is based on the ratio of number of grants to total number of patents.
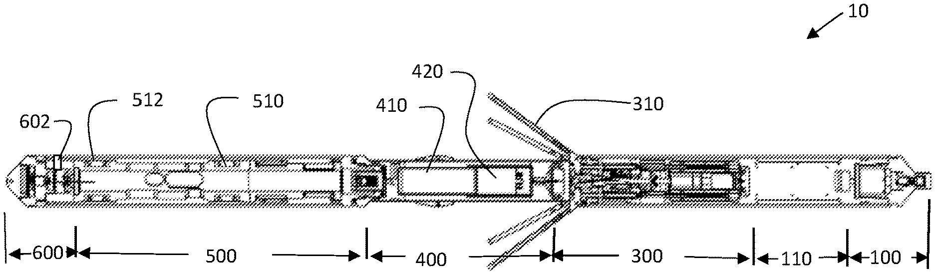
Drill hole logging tool with modular components

A recently granted patent (Publication Number: US11947066B2) discloses a reduced length modular drill hole logging tool designed for geological identification purposes. The tool includes a tool head, a diameter and profile measurement system with extendible caliper arms, a gamma radiation detection system, additional removable modules for geological data collection, and a control module housed within the tool head. The tool is equipped with various sensors such as a water/mud sensor assembly, a temperature probe, and a magnetic susceptibility and conductivity system to gather comprehensive geological data efficiently.
Furthermore, the patent describes a drill hole logging system that incorporates an autonomous tracked or wheeled vehicle with an articulating arm to deploy a tool canister housing the drill hole logging tool into the drill hole. The articulating arm allows precise alignment of the canister with the drill hole for measurements to be conducted. The system is designed for rapid positioning, deployment, and retrieval of the drill hole logging tool, with the autonomous vehicle capable of transitioning between drill holes quickly, streamlining the workflow for geological data collection in drill holes.
To know more about GlobalData’s detailed insights on Imdex, buy the report here.
Data Insights
From
The gold standard of business intelligence.
Blending expert knowledge with cutting-edge technology, GlobalData’s unrivalled proprietary data will enable you to decode what’s happening in your market. You can make better informed decisions and gain a future-proof advantage over your competitors.

