Harsco has been granted a patent for a bearing hub assembly with an integrated sensor for rail guide wheel apparatus on rail vehicles. The sensor collects data on wheel rotation to determine speed, direction, location, and distance traveled. This technology can help identify maintenance needs based on sensor data. GlobalData’s report on Harsco gives a 360-degree view of the company including its patenting strategy. Buy the report here.
Discover B2B Marketing That Performs
Combine business intelligence and editorial excellence to reach engaged professionals across 36 leading media platforms.
According to GlobalData’s company profile on Harsco, Railway traffic navigation systems was a key innovation area identified from patents. Harsco's grant share as of May 2024 was 62%. Grant share is based on the ratio of number of grants to total number of patents.
Rail vehicle bearing hub assembly with integrated sensor for maintenance

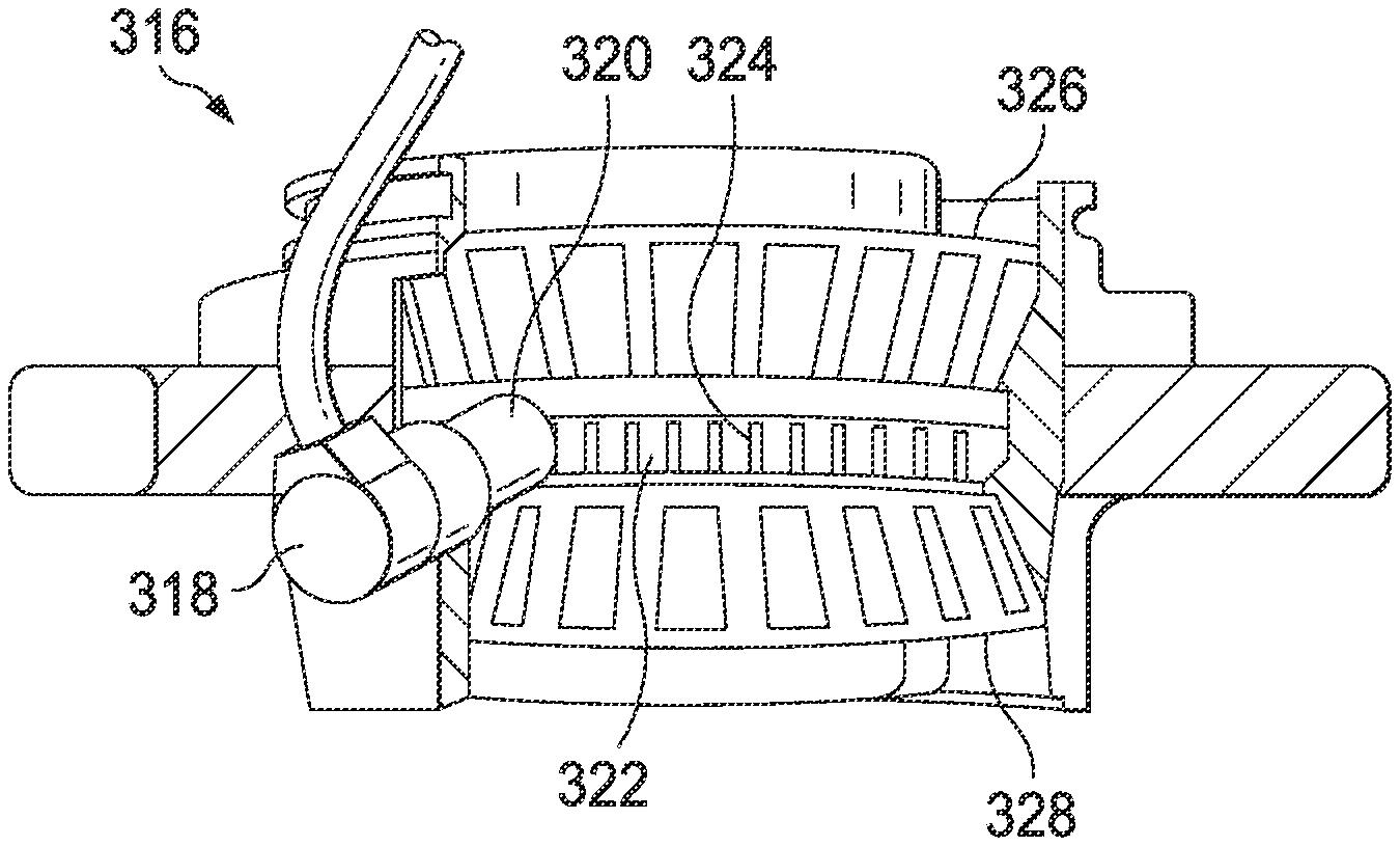
A recently granted patent (Publication Number: US11958510B2) discloses a system comprising a bearing hub assembly with a body portion and a disc portion that rotates with a rail wheel. The system includes a sensor to capture data related to the rotation of the disc portion. A server receives this sensor data, compares it to a threshold, and identifies maintenance events based on the data exceeding the threshold. The server then presents information associated with the maintenance event, allowing for timely maintenance interventions.
Furthermore, the system includes a mounting portion for coupling the bearing hub assembly to the rail guide wheel apparatus. The body portion houses bearings and a sensor head within a chamber. A ring member within the chamber rotates with the disc portion. The server is capable of displaying information related to maintenance events, which can be crucial for ensuring the smooth operation and longevity of rail vehicles. The sensor data can include details such as the number of wheel revolutions or distance traveled, providing valuable insights for maintenance planning and execution.
To know more about GlobalData’s detailed insights on Harsco, buy the report here.
Data Insights
From
The gold standard of business intelligence.
Blending expert knowledge with cutting-edge technology, GlobalData’s unrivalled proprietary data will enable you to decode what’s happening in your market. You can make better informed decisions and gain a future-proof advantage over your competitors.

